
第一章 行业概况
1.1 定义
在2017年6月发布的《国民经济行业分类》文件中,人力资源服务行业被定义为提供劳动者就业和职业发展的相关服务,以及为雇主管理和开发人力资源的相关服务。这些服务主要包括人力资源招聘、职业指导、人力资源和社会保障事务代理、人力资源外包、人力资源管理咨询、以及人力资源信息软件服务等。
人力资源服务的定义可以根据其范围和深度进行区分,具体可分为狭义和广义两种。在狭义的定义中,人力资源服务主要指的是人力资源中介服务,这主要包括猎头公司和人才市场提供的服务。这些服务主要关注的是人才的寻找和匹配,以满足企业的即时人力需求。
然而,在广义的定义中,人力资源服务的范围更为广泛,不仅包括了人力资源中介服务,还包括了更高层次的人力资源战略服务,如人力资源管理体系的设计、人才的培训与发展等。此外,广义的人力资源服务还包括了人力资源咨询领域的服务,如薪资福利管理等。这些服务的目标是帮助企业建立和优化其人力资源管理体系,以实现企业的长期战略目标。
图 人力资源服务行业

资料来源:资产信息网 千际投行 灼识咨询
1.2 发展历程
中国人力资源服务行业的发展历程可划分为四个阶段,每个阶段都有其独特的特征。
1978年至1991年,标志着市场起步探索阶段。在这一阶段,随着商品经济观念的逐渐被政策层面认可,企业开始产生人力资源服务需求,政府部门开办的人才交流服务机构和国资背景的人力资源服务机构开始出现。
1992年至2000年,市场初步形成阶段。这一阶段,国家出台了各种规范性法规,各类围绕就业和人才资源优化配置的服务机构涌现,外资人力资源服务机构开始逐步进入,一些民营人力资源服务机构开始成立,人力资源服务业态不断丰富。
2001年至2010年,市场体系完善阶段。这一阶段,政府转变职能,劳动部门和人事部门都进行了所属服务机构的体制改革,政府管理部门的职能开始从“办市场”向“管市场、为市场发展创造良好环境”转变,进一步加快了人力资源服务市场化体系建设。
2011年至今,创新升级发展阶段。在这一阶段,“十二五”规划纲要把人力资源服务业列入新兴服务业,中国的经济增长动力正从以往的“人口红利”转为“人才红利”,人才竞争变得更为激烈,因此市场对人力资源服务的需求持续提升。
总结来看,中国人力资源服务行业经历了从起步探索到创新升级的发展历程,其发展历程反映了中国经济社会发展的趋势和人力资源服务行业的重要性。
1.3 发展现状
中国人力资源服务行业在2021年呈现出强劲的增长势头,行业规模达到2.5万亿元,同比增长21%。这一增长主要得益于第三产业人员占比的提升和从业人员流动率的增加,这两个因素为人力资源服务市场规模的扩大提供了持续动力。尽管2020年受到疫情的冲击,人力资源服务市场规模的增速有所下降,但在2021年,市场规模反弹强劲,人力资源服务机构和从业人员分别达到了5.9万家和103.2万人。
图 2015-2021 年我国人力资源服务市场规模及增速

资料来源:资产信息网 千际投行 人社部
人力资源服务行业的主要业务包括招聘、薪酬人事管理和业务外包等。行业头部的人力资源服务机构已经具备提供全流程服务的能力,以满足企业在不同阶段的需求。这些服务覆盖了客户的招聘阶段需求、业务外包阶段需求以及人力资源外包阶段需求。
在中国的人力资源服务市场中,劳动外包和灵活用工在2020年的合计占比达到了74%。自2018年起,中国的灵活用工市场规模增速一直高于行业平均水平,即使在2020年受到疫情冲击,仍然实现了35%的增长。这表明,灵活用工市场的增长潜力正在逐渐凸显,预计在未来将有较大的发展空间。
图 2017-2024E 我国灵活用工与行业规模及增速对比情况

资料来源:资产信息网 千际投行 艾瑞咨询
总结来看,中国人力资源服务行业在过去的一年中实现了强劲的增长,行业规模不断扩大,业务范围也在不断拓宽。同时,灵活用工市场的增长潜力正在逐渐显现,预示着行业未来的发展空间将更为广阔。
第二章 商业模式和技术发展
2.1 产业链
人力资源服务产业链是服务链,是以人力资源服务的相关产品或服务、资本、知识和技术为纽带,以客户需求和市场资源为导向,以追求人力资源服务产品的附加值增值为目标,形成的网络关联的链式组织,产业链上的企业提供与人力资源管理和服务相关的有形或无形的服务。
图:人力资源服务产业链

资料来源:资产信息网 千际投行
(1)上游
人力资源服务产业链上游主要是给人力资源服务机构提供软件产品和信息技术的企业,代表企业有用友网络、金蝶国际、北森等;以及人力资源招聘的平台,典型业态是在线招聘。
从市场参与者来看,当前在线招聘玩家可分为平台类玩家和工具类玩家。其中平台玩家如前程无忧、BOSS直聘等主要是为应聘方和招聘方提供平台媒介进行撮合,而工具类玩家如HRTPS则为企业提供专业的人才招聘及管理解决方案,以及优易做等平台专门为求职者提供一站式简历服务。
图:模式分类

资料来源:资产信息网 千际投行 艾瑞咨询
(2)中游
人力资源服务关键环节,代表企业包括上海外服、北京外企、中智等。人力资源外包是人力资源服务产业链的中游产业,主要包括招聘流程外包、人事代理及传统派遣、薪酬福利外包等,对中高端人才和临时工的需求分别催生了中高端人才访寻(即猎头)和灵活用工产业。

资料来源:资产信息网 千际投行 行行查
(3)下游则是各行业企业客户。
2.2 商业模式
人力资源服务市场呈现多元化发展,包括人力资源解决方案及其他人力资源服务,其中人力资源解决方案有效衔接雇主需求与候选人资源,涵盖人才访寻服务、招聘流程外包及灵活用工三大类服务,其他人力资源服务包括劳务派遣、支薪服务、员工培训及发展服务、人力资源咨询、职业转换等。一般人力资源都是由客户向人力资源供应商支付相应的服务费,其费用部分视实际情况而定。
图:人力资源与就业服务行业不同盈利模式

资料来源:资产信息网 千际投行 民生证券
人力资源服务行业主要有三个细分业务板块,各个板块互不相同,各有特点。但相互促进、相互补充,商业模式特点也各有不同。
图:三大细分方向

资料来源:资产信息网 千际投行
(1)灵活用工
灵活用工具有多样的业务形式,其具体商业模式落到细处也不尽相同,但整体来看大体的方式思路一致。一般由用工企业发布用人需求,灵工服务商招聘外包员工。
服务费用率的抽取决定了灵活用工的利润水平。定价模式为人工费+服务费,其中人工成本包括人资公司应向劳动者发放的工资和社保公积金,服务费则是基于人工成本的特定比例收取的费用,主要包含招聘费、管理费和风险金。
图:灵活用工商业模式

资料来源:资产信息网 千际投行 民生证券
(2)在线招聘
在线招聘行业指在雇主和求职者的招聘与求职过程中,提供互联网平台及相关技术手段服务的行业。包括针对雇主的服务和针对求职者的服务,如招聘信息发布、简历下载、定制招聘专区、求职简历生成、职位搜索、薪酬查询等。而线下招聘则通过猎头、RPO 以及各种线下活动来完成。
表:在线招聘模式分类

资料来源:资产信息网 千际投行 艾瑞咨询
对比传统招聘,线上招聘在纸业发布、简历、候选人沟通领域已做到全面数字化转型,环保的同时更安全和便捷,面试方面随着疫情基本结束,整体线上面试占比有所下降,企业仍更偏向线下面试,但相较疫情前占比仍提升较大,在线签约方面目前国内在线招聘也在逐步渗透中,未来整体面试流程有望实现全面数字化,解除线下招聘存在的时间、地点等限制,显著提升各环节效率。

资料来源:资产信息网 千际投行 天风证券
(3)猎头
KA(大客户模式)
这是最传统的猎头模式,也是大部分猎头采用的模式公司。这个模式的核心是以客户为中心,组建团队,消化所有客户职位,不管他们在哪个职能部门。这个模式的逻辑是:先开发客户,得到客户的工作需求,找到候选人根据工作要求。这是从客户开始到寻找候选人结束的线性过程。
PS模式(Proactive Specialization)
此模型从候选方开始。顾问入职后,确定了一定的职能方向。在这个职能方向上,需要找到大约200名正在寻找机会的中高层管理人员,并详细说明这些人员的各个方面。记录在案并寻找适合这些候选人的职位。每年都有一些候选人找到新的机会,因此顾问需要不断增加新的候选人。
MPC 模式(Most Placeable Candidate)
此模式不同于 PS 模式。这种模式最适合一些候选人稀缺的领域,如人工智能、大数据、算法、自动驾驶、区块链、物联网等新兴领域,候选人少,客户需求旺盛。某些高层次的领域也适合这种模式,比如医药研发科学家、投资高管、资深外籍律师等。这种职位的正确做法是先找到愿意考虑机会的候选人,以后再找职位会容易得多。
2.3 技术发展
(1)HCM SaaS+模式
SaaS平台供应商将应用软件统一部署在自己的服务器上,客户可以根据工作实际需求,通过互联网向厂商订购所需的应用软件服务,按定购的服务多少和时间长短向厂商支付费用,并通过互联网获得Saas平台供应商提供的服务。
HCM SaaS软件是将组织人事、合同档案、考勤休假、薪酬社保、员工福利、保险体检等人力资源管理的应用、流程及服务整合成一体的系统平台,以信息化流程协同代替手工操作,帮助企业提高人事管理运营效率和效益,从而帮助企业实现最终价值。
图:国内外人力资源SaaS领域市场

资料来源:资产信息网 千际投行 方正证券
HCM SaaS系统带来的改变:
工作效率更高,节省人工成本以信息化流程协同代替手工操作,以数据化存储代替纸质和Excel存储,减少了很多不必要的人工操作量,人事管理更便捷,流程实施更高效。
数据安全高效,监控实施进度数据化存储代替纸质文件,所有资料均可系统查询及导出,同时人力资源管理流程均可视化,洞察各个业务流程的实施情况。
专注核心业务,制定最优方案系统提供员工数据报表及分析图表,辅助企业管理者实时分析和优化每个人事管理业务流程,从而帮助企业找到人力资源管理最优解决方案。
(2)人工智能
人工智能技术在人力资源招聘业务中的应用已经取得了显著的效果。AI工具在招聘过程中能够有效地减少人力资源成本,通过初步的问询获取候选人的基本信息,并利用大数据进行筛选,从而找到更合适的候选人。此外,AI还可以响应查询,实现快速填写申请和针对性筛选申请人,极大地提升了效率,简化了候选流程,同时也提升了候选人的体验。
在实际的人才招聘过程中,AI机器人和虚拟界面的使用实现了候选人的初步信息筛选,对其综合素质、专业能力等进行评定,这使得企业的面试效率大幅度提升,能够更加针对性地选择适合企业发展的人才。
目前,人力资源行业中的人才中介、猎头、网络招聘管理、咨询等业务已经形成了较大的发展规模,许多人力资源服务企业也进行了信息化建设,为客户提供一站式服务。在智能化管理体系改革的推动下,人工智能正在朝着更加普及、多层次的方向发展,让员工和客户都成为现代人力资源管理体系的使用者。
图:人工智能布局人力资源环节及场景

资料来源:资产信息网 千际投行 东北证券
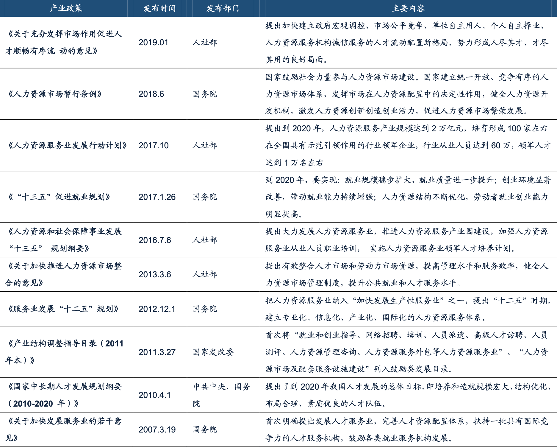
2.4 政策监管
人力资源服务行业的主管部门主要包括人社部和工信部。行业的自律监管组织主要包括中国人才交流协会和中国就业促进会。
中国人才交流协会的业务主管单位是人社部,由从事人才交流服务业务有关的机构、团体和个人自愿组成。中国就业促进会的业务主管单位是人社部,是以促进就业为宗旨的全国性社团组织。
图 中国人力资源服务相关政策梳理

资料来源:资产信息网 千际投行 人社部 国务院 发改委
第三章 行业估值、定价机制和全球龙头企业
3.1 行业综合财务分析和估值方法
人力资源服务行业的财务分析方法主要包括以下几个方面:
收入分析:分析公司的总收入以及各个业务线的收入情况,了解公司的收入来源和收入结构。对于人力资源服务行业来说,主要的收入来源可能包括招聘服务费、咨询服务费、培训服务费等。
成本分析:分析公司的总成本以及各个业务线的成本情况,了解公司的成本结构。对于人力资源服务行业来说,主要的成本可能包括人力成本、市场营销成本、行政管理成本等。
利润分析:分析公司的总利润以及各个业务线的利润情况,了解公司的利润来源和利润结构。对于人力资源服务行业来说,主要的利润来源可能是各个业务线的服务费收入减去相应的成本。
现金流分析:分析公司的现金流入和现金流出情况,了解公司的现金流动情况。对于人力资源服务行业来说,主要的现金流入可能来自服务费收入,主要的现金流出可能是人力成本、市场营销成本等。
财务比率分析:通过计算和分析各种财务比率,如流动比率、速动比率、资产负债率、毛利率、净利率等,了解公司的财务状况和运营效率。
预算和预测:根据历史数据和行业趋势,预测公司的未来收入、成本、利润和现金流情况,为公司的决策提供依据。
以上的财务分析方法可以帮助人力资源服务公司了解自身的财务状况,评估自身的运营效率,发现问题并制定改进策略,同时也可以帮助投资者和债权人评估公司的财务风险和投资价值。
图:指数表现

图:动态PE

图:风险分析

资料来源:资产信息网 千际投行 iFinD
行业估值方法可以选择市盈率估值法、PEG估值法、市净率估值法、市现率、P/S市销率估值法、EV企业价值法、EV/Sales市售率估值法、RNAV重估净资产估值法、EV/EBITDA估值法、DDM估值法、DCF现金流折现估值法、红利折现模型、股权自由现金流折现模型、无杠杆自由现金流折现模型、净资产价值法、经济增加值折现模型、调整现值法、NAV净资产价值估值法、账面价值法、清算价值法、成本重置法、实物期权、LTV/CAC(客户终身价值/客户获得成本)、P/GMV、P/C(customer)、梅特卡夫估值模型、PEV等。
3.2 驱动因子
在人力资源服务行业的发展中,有四个主要的驱动因子。首先,灵活就业和人力资源外包的需求正在增加。企业可以根据宏观经济状况调整人力成本,提高效率和竞争力。同时,员工也更倾向于选择灵活的就业方式,而不是一生只做一种工作。
其次,人口特征也在影响行业的发展。随着老龄化和人口增速放缓,许多发达国家面临技术型人才短缺的问题。此外,产业升级也导致了就业过程中技能供需的错配。
第三,就业政策的正向变化也是一个重要的驱动因子。一些政府已经开始放开对灵活就业的立法规范和政策。
最后,客户对于人力资源综合服务的需求也在增加。他们希望人力资源服务提供商能够满足从临时人员配置到外包等多样化的需求,并提供整体解决方案。
这四个因素共同推动了人力资源服务行业的发展,为行业的未来提供了广阔的发展空间。
3.3 行业风险分析和风险管理
表:常见行业风险因子

资料来源:资产信息网 千际投行
在人力资源服务行业中,各种风险和挑战并存。首先,随着业务规模的扩大,公司的管理模式需要进行相应的调整。如果管理层无法适应这种变化,可能会削弱公司的市场竞争力。因此,公司需要加强内部交流与培训,提高管理人员的能力和素质。
其次,人才流失和培养也是一大挑战。尽管人力资源服务行业在我国正处于快速发展阶段,但如果公司无法紧跟行业发展步伐,可能会失去市场份额。为了应对这个问题,公司需要采取绩效考核和薪酬激励等措施,同时开拓新的业务,提供员工充分的发展空间。
另外,宏观市场的变化也可能对公司的业务发展造成影响。在面临国际局势复杂和国内经济结构调整的情况下,公司需要强调合规经营,丰富产品布局,避免对单一地区或产品的过度依赖。
最后,行业的市场竞争也是一大风险。随着行业内企业数量的增加,市场竞争日益激烈。为了应对这个问题,公司需要加大新产品开发和新项目建设的投入,提高自身的竞争力和抗风险能力。
总的来说,人力资源服务行业的风险和挑战多样,但通过适当的策略和措施,公司可以有效地应对这些问题,实现稳定和可持续的发展。
3.4 竞争分析
在人力资源服务行业的竞争环境中,我们可以通过SWOT分析来深入理解其优势、劣势、机会和威胁。
优势方面,人力资源服务公司拥有专业的服务团队,具备深厚的政策分析能力和专业理论知识。他们能提供全面高效的专业服务,处理各种繁杂的人事业务,包括劳动合同的签订、解除,档案关系的转移,人员的招聘、录用,社会保险缴纳等。
然而,劣势也不容忽视。人力资源服务业的发展在地区和规模上存在不平衡。一些重点城市和沿海地区的人力资源服务业发展迅速,而东北地区和西北地区的发展则相对滞后。大型人力资源服务企业有足够的实力进行信息化、数字化、品牌化等建设,但中小型企业在这些方面则存在问题。
机会方面,大数据正在改变人力资源管理的思维模式和工作方式。大数据可以帮助人力资源服务企业提高竞争力,使决策者能更好地了解行业状况和市场趋势,从而做出更科学的决策。
威胁方面,人工智能的广泛应用可能会减少劳动密集型行业的普通工作岗位,从而压缩人力资源服务业的业务空间。随着产业结构的升级,对高素质、高技能的人才的需求增加,但我国的现状是普通劳动力过剩,高素质、高技能的专业人才相对不足,这对人力资源服务行业构成了挑战。
3.5 重要参与企业
中国主要企业有BOSS直聘[BZ]、前程无忧[JOBS]、科锐国际[300662.SZ]、猎聘[6100.HK]、行动教育[605098.SH]、万宝盛华大中华[2180.HK]、104资讯科技[3130.TW]、人瑞人才[6919.HK]、趣活[QH]等。另类虚拟人招聘技术公司有:百度、来也科技、云扩科技、弘玑Cyclone、实在智能、艺赛旗(839025)、新纽科技(09600)、天行智能、和信融慧、金智维等。
全球的主要企业有ADP [ADP]、RECRUIT [6089]、威达信 [MMC]、workday [WDAY]、怡安 [AON]、PAYCHEX [PAYX]、Willis Towers Watson [WLTW]、Paycom [PAYC]、Cordian [CDAY]等。
第四章 未来展望
展望未来,我们认为中国人力资源服务行业正处于一个快速发展的阶段。
首先,由于国内人口老龄化趋势加深和劳动力就业压力增大,用人单位和劳动力市场对专业、高效的人力资源服务的需求日益增加,这为人力资源服务行业带来了发展的黄金机遇。政府出台的多项政策也引导企业采取多渠道灵活用工的模式,同时不断完善灵活就业的社会保障措施。
其次,政府一直在积极推进人力资源服务业的发展。例如,2021年,人社部部署实施西部和东北地区人力资源市场建设援助计划,以解决我国人力资源市场发展不平衡不充分的问题。
此外,能提供综合解决方案的业内龙头企业优势明显,能够满足优质头部客户及高端客户对行业资质、品牌声誉、人才库积累、资源调配能力以及具备同类服务经验的高要求。
最后,信息化已成为“互联网+”时代人力资源服务发展的关键方向。人工智能、大数据、云计算等信息技术的快速发展赋能了招聘、人事代理、人力资源管理等传统业务领域,并提升了管理效率。
综上所述,中国人力资源服务行业的未来发展前景广阔,行业发展潜力巨大,市场规模将不断扩大。